中药饮片国药OTC什么意思
点蓝色字关注药学士
■来源 | 食养圆 国家药监局
沉香曲
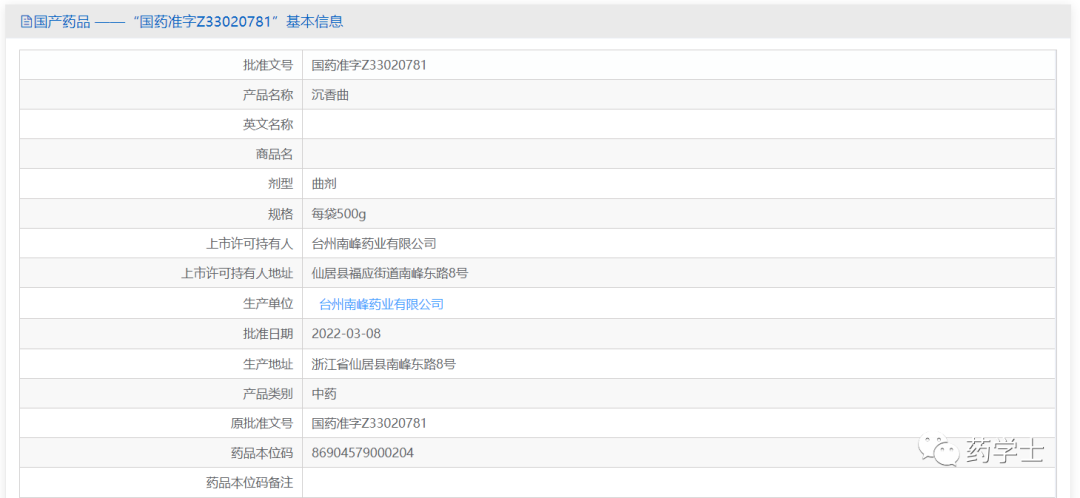
如上图所示,沉香曲显示国药准字Z33020781,甲类非处方药(红色OTC),这些信息是不是与中成药很像?
先说国药准字,1985年7月1日,第一版《中华人民共和国药品管理法》开始施行。《药品管理法》的核心内容之一,就是对药品实施批准文号管理。为此,国家药监局专门在2004年6月18日对药品注册司组织起草的《中药饮片注册管理办法》、《关于中药饮片实施批准文号管理有关事宜的通知》、《关于发布实施批准文号管理的中药饮片品种目录(第一批)的公告》进行了意见征求。但是,至今相关文件仍然没有正式出台。在最新的《药品管理法》第二十四条是这样描述的:
《中华人民共和国药品管理法》截图
由此可知,中药饮片的批准文号管理仍然是进行时。那么,上述沉香曲算什么呢?在国家药监局的官网上,沉香曲的信息如下:
沉香曲的注册信息
可以看出,这个沉香曲的类型是曲剂,而不是中药饮片。
实际上,不仅仅是沉香曲,青黛、水牛角浓缩粉、人工牛黄、石膏、冰片、滑石粉等十余个品种均有批准文号。
如青黛,批准文号之一为国药准字Z51022575,类型是中药材。
青黛的注册信息
六神曲,批准文号之一为国药准字Z51022411,类型是曲剂。
六神曲的注册信息
阿胶,批准文号之一为国药准字Z41020213,类型是胶剂。
阿胶的注册信息
人工麝香,批准文号之一为国药准字Z20040042,类型是药材。
人工麝香的注册信息
水牛角浓缩粉,批准文号之一为国药准字Z36021919,类型是散剂。
水牛角浓缩粉的注册信息
冰片,批准文号之一为国药准字Z20070044,类型无。
冰片的注册信息
人工牛黄,批准文号之一为国药准字Z20194014,类型为原料药。
人工牛黄的注册信息
刚才说了,国药准字和OTC的字样,让它看起来很像中成药,但我们接着往下看。沉香曲的用法用量写着口服,一次9g,一日2次,煎服或供配方用,也就是说,在临床使用时,这个沉香曲还是按照传统饮片的用法,要么入煎剂,要么做成药,一般不直接单独口服。如果从这个角度看,沉香曲的本质还是一味中药饮片。
实际上,除了沉香曲,刚才那些有批准文号的中药,也多多少少履行着中药饮片的职责。以青黛为例,用法为内服1.5~3g。本品难溶于水,一般作散剂冲服,或入丸剂服用。外用适量。以原料药注册管理的人工牛黄等,如果投料制作中成药的话,和其他一起投料的中药饮片又有什么区别?所以,这些中药虽然注册管理的类型不同,但大多发挥着中药饮片的作用。
由此可知,中药饮片的批准文号管理是法律要求和大势所趋,只不过限于中药饮片生产经营管理的特殊性,目前尚在进行中。这个时候,对于像沉香曲、青黛、人工牛黄这样的已经带有批准文号的药品,虽然管理方面是按照中成药(曲剂、散剂、胶剂等)、中药材或以原料药注册管理,但实际临床仍然是当做中药饮片在用,医疗机构在管理时,建议还是按照使用需求,以中药饮片管理为好。
中药品种保护条例(2018年9月18日)
综合司关于印发《关于〈中华人民共和国药品管理法〉第一百一十七条第二款适用原则的指导意见》的通知(2022年2月21日)【中药饮片】
中药注册管理专门规定(2023年7月1日施行)
中药注册分类及申报资料要求(2021年1月1日起)
关于发布《中药材生产质量管理规范》的公告(2022年3月1日)
中药材GAP检查指南(2023年6月26日)
关于进一步加强中药材管理的通知(2013年10月9日)
关于加强中药生产中提取和提取物监督管理的通知(2014年7月29日)
关于结束中药配方颗粒试点工作的公告(2021年2月1日)关于加强中药配方颗粒生产、配送、使用管理有关事项的补充通知(湘药监发〔2022〕25号)
关于中药配方颗粒备案工作有关事项的通知(2021年10月29日)中药配方颗粒质量控制与标准制定技术要求
中药饮片标签管理规定(2023年7月12日)关于发布《中药饮片标签撰写指导原则(试行)》《中药饮片保质期研究确定技术指导原则(试行)》的通告(2023年7月26日)
化学药品和生物制品说明书规范细则(2006年6月1日施行)
中药、天然药物处方药说明书格式内容书写要求及撰写指导原则(2006年6月1日施行)
湖南省药监局关于实施《湖南省中药饮片炮制规范》(2021年版)的公告(2022年第54号)
湖南省药品监督管理局关于印发湖南省规范中药材产地趁鲜切制加工指导意见的通知(湘药监发〔2022〕13号)
不唯药,需围药,应为药
分享医药资讯 服务产教融合
